材料力学实验方法指导
广 东 工 业 大 学
前 言
本材料力学实验方法指导书是根据国家教委制定的材料力学课程教学基本要求编写的。要求学生对常用材料的基本力学性能及其方法、电测实验应力分析的基本原理和方法有初步认识。本书力求简明易读,指导学生实验并便于教师进行试验课的组织教学。配合本书编有材料力学实验报告册,供学生书写实验报告之用。本书由莫晓东主编,由刘锋教授审阅。
由于水平有限,书中错误不妥之处,敬请批评指正。
编者
2004年5月
目 录
第一章 概述…………………………………………………………(1)
第二章 基本实验……………………………………………………(3)
§2-1 低碳钢拉伸实验 …………………………………………(3)
§2-2 铸铁拉伸实验 ……………………………………………(8)
§2-3 低碳钢和铸铁压缩实验 …………………………………(9)
§2-4 低碳钢和铸铁扭转实验…………………………………(12)
§2-5 梁的纯弯曲实验…………………………………………(16)
§2-6 平面应力状态主应力的测定实验………………………(19)
§2-7 弯扭组合变形主应力和内力的测定实验………………(22)
第三章 实验设备 …………………………………………………(25)
§3-1 液压式万能材料试验机…………………………………(25)
§3-2 扭转试验机………………………………………………(29)
§3-3 球铰式引伸仪……………………………………………(32)
§3-4 静态应变测试仪…………………………………………(34)
§3-5 数字测力仪………………………………………………(38)
附 录 …………………………………………………………………(40)
第一章 概 述
材料力学实验是材料力学课程教学中的一个重要组成部分。材料力学中的结论及定律,材料的机械性质,都需要通过实验来验证或测定,因些,材料力学实验是工程技术人员和各类工程专业学生所必须掌握的技能之一。
一、材料力学实验的内容
1.材料的力学性能的测定
材料的力学性能是指力或能的作用下,材料在变形、强度等方面表现出的一些特性,如弹性极限、屈服极限、强度极限、弹性模量、疲劳极限、冲击韧性等。这些强度指标或参数都是构件强度、刚度和稳定性计算的依据,而它们一般要通过实验来测定。
2.验证已建立的理论
材料力学的一些理论是以某些假设为基础的,例如杆件的弯曲理论就以平面假设为基础。用实验来验证这些理论的正确性和适用范围,有助于加深对理论的认识和理解,同时,也验证了所新建立的理论和公式。
3.应力分析实验
在某些情况下,因构件几何形状不规则或受力复杂等,应力计算并元适用理论,这时利用电测等实验应力分析方法直接测定构件的应力,便成为有效、方便的方法。
二、实验前应注意的几个方面
1.操作前的准备工作
在做实验之前,先明确实验目的、原理和步骤,了解试件的材料和几何尺寸,对试件应如何加载,以及加多大的荷载,也应事先估算。然后分组,每个小组的成员,必须有试验仪器操作者、测变形者、记录者,每个小组的人数一般是3~6人。
2.进行实验
每个小组在进行实验时,应严格遵守实验室守则,严格按照仪器操作规程进行操作。例如,检查试验机测力度盆指针是否对准零点,引伸仪是否安装稳妥,试件装置和加力装置是否正确等,最后还应在指导老师检查下,确定无误后方可开动机器。在正常实验中,操作者小心缓慢对试件加载,测变形者准确读出数值,记录者及时记录数据,三者应该积极配合。
3.实验结束
实验结束后,应检查数据是否齐全、准确,并注意断电,清理仪器设备,认真完成实验报告。
第二章 基本实验
§2-1低碳钢拉伸实验
一、实验目的
1.验证虎克定律,测定低碳钢的弹性模量E。
2.测定低碳钢的屈服极限
;强度极限
;延伸率
;截面收缩率
。
3.观察低碳钢拉伸过程中各个阶段的现象,绘制拉伸的应力应变曲线图。
二、实验设备
1.液压式万能材料试验机
2.球铰式引伸仪
3.游标卡尺
三、试件
采用圆形截面试件,直径
为10㎜。试件等截面的中段用于测量拉伸变形,其长度
称为“原始标距” ,根据国标规定,取
,即为100㎜,两端较粗部分是头部,为装入试验机夹头中承受拉力之用。如图2-1所示。
![]()

图2-1
四、实验原理
低碳钢属塑性材料,在做拉伸实验过程中,其P-
曲线如图2-2所示,
大致可分为四个阶段:弹性阶段、屈服阶段、强化阶段、局部变形阶段。
1.弹性模量E的测定
试件受到轴向拉力P的作用时,在比例极限内,应力和应变的关系符合虎克定律,弹性模量是应力和应变的比值,即 :
![]()
![]()
![]()
图2-2
可见,在比例极限内,对横截面面积为
的试样施加拉伸载荷P,并测出标距
的相应伸长
,即可求得弹性模量E。为了验证虎克定律,并提高测是弹性模量E的精确度,通常采用“增量法”进行实验,也就是把载荷分成若干相等的加载等级
,然后逐级加载。测弹性模量时最高载荷
为屈服载荷
的70%~80%,若低碳钢的直径为10㎜,则
不超过15KN。
实验时,从
到
逐级加载,各级载荷增量为
。对应着每个载荷
(i=1,2,···
,n),就有相应的伸长
,
与
的差值即为变形增量
,它是
引起的伸长增量,
,
为引伸仪中的千分表读数
、
···算得的增量, K为引伸仪的放大倍数。在逐级加载中,若等到的各级
基本相等,就表明变形
与拉力P成线性关系,符合虎克定律。
完成一次加载,将得到
和
的一组数据,按弹性模量平均法,对应于每一个
可以求得相应的单项弹性模量
,则
( i=1,2,··· ,n)
则n个
的算术平均值
![]()
即为材料的弹性模量。
用增量法进行试验,还能判别加载、引伸仪的安装及读数有无错误。若伸长增量不按一定规律变化,说明试验不正常,应进行检查。
2.屈服极限
,强度极限
的测定
弹性阶段过后,进入屈服阶段,试验机示力度盘的主动针停止前进,并开始倒退,载荷首次下降的最低点,称为初始瞬时效应,不作为强度指标,然后应注意指针的波动情况,主动针第一次回摆之后几次回摆中,所指的最低载荷即为屈服载荷
。根据定义,屈服极限可由下式求出:
![]()
式中
为试件的初始横载面面积。
屈服阶段过后,进入强化阶段,试件因塑性变形合其内部的晶体结构得到了调整,抵抗继续变形的能力有所增强。当达到最大载荷
时,在试件的某一局部的截面明显缩小,出现“颈缩”现象,这表明已经进入局部变形阶段,此时,主动针迅速倒退,试件被拉断,从动针停止不动,所指的载荷即为极限载荷
,根据定义,强度极限可由下式求出:
![]()
式中
为试件的初始横载面面积。
3.延伸率
和截面收缩率
的测定
根据定义:
![]()
其中
为试件拉断后测试标距范围长度,称为断后标距;
则为试件断口处的最小面积。
为了方便测量断后标距
,试件在试验前应在其表面划上等距离并与试件轴线相垂直的标记线,例如每相距10㎜划上一段,如图2-3(a)所示。试件拉断后,把试件拼接起来。从破坏后的低碳钢试件上可以看到,各处的残余伸长是不均匀的,靠近断口处伸长较多。因此,测得的
数值与断口部位有关。为了保证
的准确性,应该使断口位于测量范围的中部,用游标卡尺测量10格的长度即为
,如图2-3(b)所示。如果无法使断口位于测量范围的中部,就要采用断口移中的办法来决定
。
(a) (b) (c)




图2-3
断口移中的方法是:在靠近断口处的一个划线口,向断裂试件中较短一段的标点a数一下共有多少格,例如有2格。如图2-3(c)。然后向断裂试件较长的一段数相同的2格,记为c,则ac段的长度为
共有4格。还应再数
格。我们从c向试件较长的一段再数6格的一半即3格,记为d,则cd长度为
。这样
所包含的格数即为10格,此时
,显然,这样的测量方法可保证断口在测量段的中间,使
较为准确。
五、实验步骤
实验必须按步骤进行,次序为试件和试验机准备、安装试件及引伸仪、试验(加载、观察、记录)、测量、整理数据等。
1.试件准备
(1)沿试件标距
的范围内,用划线机每隔10㎜刻划标记线。
(2)在试件标距范围内分别测量试件的两端及中间三个位置的直径。为保证精确度,每一截面取互相垂直的两个方向各测量一次,并计算其平均值,以三截面中最小处的平均值作为计算直径
,再算出试件的初始横截面面积
。
2.试验机准备
(1)根据试件极限载荷的大小,选择合适的测力量程,并配置相应的摆锤。对于低碳钢拉伸试验,通常选择
的量程。
(2)调整测力指针,对准零点。
(3)在自动绘图器上安装绘图纸与笔。
3.安装试件及引伸仪
首先安装试件,并使之刚好拉紧(如测力盘指示0.2KN),再安装球铰引伸仪。引伸仪装好后要调整指针使之位于刻度零点。
4.开动试验机
预加小量载荷(如加至2KN),以检查试验机工作是否正常,引伸仪上百分表指针是否转动,确认正常后卸载接近零点。
5.进行试验
(1)慢速加载,初载荷为6KN,缓慢而均匀地使试件产生变形,注意测力指针的转动,自动绘图的情况和相应的试验现象。
(2)从初载荷开始,每2KN记录一次引伸仪中千分表的读数,并估算引伸仪先后两次读数差,以判断试验是否正常。
(3)卸下引伸仪。
(4)继续加载,观察屈服时的载荷。当测力指针倒退时,说明材料发生屈服,读出屈服载荷Ps。
(5)过屈服阶段后,可用较快的速度加载,注意观察试件出现颈缩部位,直至将试件拉断,记下极限载荷
,停车,取下试件。
6.测量
(1)为了计算延伸率
,需按实验原理第3点介绍的方法测量拉断后试件标距范围内的长度
。
(2)为了计算试件的截面收缩率
,将断裂试件的两端尽量对紧,用游标卡尺测量断口颈缩处最小直径
。为保证精确度,需在两个互相垂直的两个方向各测量一次,并取平均值计算出试件断口处的截面最小面积
。
7.清理仪器设备,结束实验。
8.整理数据,完成实验报告。
§2-2铸铁拉伸实验
一、实验目的
1.测定铸铁的拉伸强度极限
。
2.观察铸铁拉伸的破坏现象,并与低碳钢拉伸的破坏现象比较。
二、实验设备
1.液压式万能材料试验机
2.游标卡尺
三、试件
采用圆形截面试件,两端较粗部分是头部,为装入试验机夹头中承受拉力之用。如图2-1所示。
四、实验原理
铸铁属脆性材料,在拉伸断裂以前所能发生的变形是很小的,无屈服阶段和颈缩现象,其P-
曲线如图2-4所示。
![]()

图2-4
铸铁拉伸实验中,只有一个强度特征值,即拉断时的应力-强度极限
,根据定义,可由下式求出:
![]()
式中A0为试件初始横载面面积,Pb为材料拉断时的极限载荷。
五、实验步骤
1.试件准备
测量试件的两端及中部共三个位置的直径,为保证精确度,每一截面均取互相垂直的两个方向各测量一次,并计算其平均值,以三截面中最小处的平均值作为计算直径
,再算出试件的初始横截面面积
,无需在试件上刻线。
2.试验机准备
根据试件极限载荷的大小,选择合适的测力量程,并配置相应的摆锤。对于铸铁拉伸试验,通常选择0~60KN的量程。调整测力指针,对准零点。
3.安装试件
4.进行试验
开动试验机,慢速加载,直至试件断裂为止,记下极限载荷
,停车,取下试件。
5.清理仪器设备,结束实验。
6.整理数据,完成实验报告。
§2-3低碳钢和铸铁的压缩实验
一、实验目的
1.测定压缩时低碳钢的屈服极限
;和铸铁的强度极限
。
2.观察低碳钢和铸铁压缩时的变形和破坏现象,并进行比较。
二、实验设备
1.液压式万能材料试验机
2.游标卡尺
三、试件
采用圆柱状试件,其高度为直径的1.5~2倍,如图2-5(a)所示。
铸铁 σ O ε (a) (b) d0![]()
![]()
![]()
![]()
![]()
![]()
![]()
![]()
![]()

![]()
图2-5
四、实验原理
1.低碳钢压缩实验
低碳钢在压缩时的
曲线如图2-5(b)所示,图中还用虚线绘出了低碳钢在拉伸时的
曲线,从这两条曲线可以看出,在屈服阶段以前,它们基本上是重合的,这说明低碳钢在压缩时的弹性模量E和屈服极限
与拉伸时大致相同,但在超过屈服极限以后,因低碳钢试件的轴向长度
不断缩短,受压面积越来越大,直到被压成鼓形而不产生断裂,如图2-6(a)所示。如果载荷
(c) (a)
![]()



![]()
![]()
图2-6
足够大(例如加至2000KN),试件可被压成饼状,所以无法测定材料的压缩强度极限,故一般来说,钢材的力学性能主要是用拉伸实验来确定,并认为屈服极限
为低碳钢压缩时的强度特征值:
![]()
式中
为试件初始横载面面积,
为低碳钢压缩时的屈服载荷。
必须指出低碳钢压缩时的屈服阶段并不象拉伸时那样明显,因此在确定
时要特别小心地观察。在缓慢而均匀地加载下,最初测力指针是等速转动的,但发生屈服时,测力指针的转动减慢,直至停止转动,停留时间很短(例如0.5秒),有时也有出现回摆的现象,这就是屈服现象。指针停留时的载荷或指针往回摆的最低载荷即为材料的屈服载荷
。
2.铸铁的压缩实验
铸铁是典型的脆性材料,在压缩时并无屈服阶段,其P-
曲线如图2-6(b)所示,当对试件加至极限载荷
时,试件在压缩变形很小时就突然发生剪断破坏,断面与试件轴线的夹角大约为40º~45º,如图2-6(c)所示。此时,测力主动针迅速倒退,由从动针可读出
值,于是即可确定铸铁的强度极限:
![]()
式中
为试件初始横载面面积,
为铸铁压缩时的极限载荷。
由实验表明,铸铁的抗压能力比其抗剪能力好,而且在受压时的强度极限比受拉时的要高3~4倍,故铸铁只适用于受压构件。
五、实验步骤
1.试件准备
测量试件中间处的直径,在互相垂直的两个方向各测量一次,以其平均直径计算出试件的初始横截面面积
,再测量试件高度。
2.试验机准备
根据试件极限载荷的大小,选择合适的测力量程,并配置相应的摆锤。对于低碳钢和铸铁的压缩试验,通常选择0~300KN的量程。调整测力指针,对准零点。
3.放置试件
把压缩试件放置于试验机的两个承压垫板之间,并对准轴线。
4.进行试验
开动试验机,慢速加载。对于低碳钢,先记录试件的屈服载荷
,然后加载至大约200KN时卸载;对于铸铁,则加载至试件断裂后卸载,记录极限载荷
,停车,取下试件。
5.清理仪器设备,结束实验。
6.整理数据,完成实验报告。
§2-4低碳钢和铸铁的扭转实验
一、实验目的
1.测定低碳钢的剪切屈服极限
及剪切强度极限
。
2.测定铸铁的剪切强度极限
。
二、实验设备
1.扭转试验机
2.游标卡尺
三、试件
采用圆形截面试件,如图2-7所示,在试件表面画上一条纵线,以便观察试件的扭转变形。
纵线![]()
![]()
![]()
![]()
![]()
![]()
图2-7
四、实验原理
试件承受扭矩时,材料处于纯剪切应力状态,是拉伸以外的又一重要应力状态,常用扭转实验来研究不同材料在纯剪切应力状态下的机械性质。
1.低碳钢扭转实验
低碳钢试件在发生扭转变形时,其T-φ曲线如图2-8所示,类似低碳钢拉伸实验,可分为四个阶段:弹性阶段、屈服阶段、强化阶段和断裂阶段,相应地有三个强度特征值:剪切比例极限
、剪切屈服极限
和剪切强度极限
。对应这三个强度特征值的扭矩依次为Tp、Ts、Tb。
T O φ![]()
![]()
![]()
![]()
![]()
![]()
![]()
![]()
![]()
![]()
图2-8
在比例极限内,T与φ成线性关系,材料完全处于弹性状态,试件横截面上的剪应力沿半径线性分布。如图2-9(a)所示,随着T的增大,开始进入屈服阶段,横截面边缘处的剪应力首先到达剪切屈服极限
,而且塑性区逐渐向圆心扩展,形成环塑性区,如图2-9(b)所示,但中心部分仍然是弹性的,所以T仍可增加,T-φ的关系成为曲线。直到整个截面几乎都是塑性区,如图2-9(c)所示。



(a) (b) (c)
图2-9
在T-φ出现屈服平台,示力度盘的指针基本不动或有轻微回摆,由此可读出屈服扭矩Ts,低碳钢扭转的剪切屈服极限值可由下式求出:
![]()
式中
为试件的抗扭截面系数。
屈服阶段过后,进入强化阶段,材料的强化使扭矩又有缓慢的上升,但变形非常明显,试件的纵向画线变成螺旋线,直至扭矩到达极限扭矩值Mb进入断裂阶段,试件被剪断,由示力度盘的从动针可读出,则低碳钢扭转的剪切强度极限
可同下式求出:
![]()
2.铸铁扭转实验:铸铁在扭转实验时,变形很小就突然断裂,其T-φ曲线如图2-10所示。
![]()

图2-10
从开始受扭,直到破坏,近似为一直线。没有屈服阶段和强化阶段,唯一的强度特征值是剪切强度极限
可按线弹性公式计算求出,即:
![]()
3.试件的破坏现象分析:
试件受扭,材料处于纯剪切应力状态,在试件的横截面上作用有剪应力
,同时在与轴线成±45°的斜截面上,会出现与剪应力等值的主拉应力
和主压应力
,如图2-11(a)所示。
(a)
![]()
(b) (c)
图2-11
低碳钢的抗剪能力比抗拉和抗压能力差,试件将会从最外层开始,沿横截面发生剪断破坏,如图2-11(b)所示,而铸铁的抗拉能力比抗剪和抗压能力差,则试件将会在与杆轴成45°的螺旋面上发生拉断破坏,如图2-11(c)所示。
五、实验步骤
1、试件准备:
测量试件等截面范围两端及中间共三处截面的直径。为保证精确度,每一截面均取互相垂直的两个方向各测量一次,并计算平均值,以三截面中最小处的平均值来计算初始横截面面积A0。
2.试验机准备:
(1)根据试件的剪切强度极限
估算极限扭矩Tb,并选择合适的量程,最好使Tb大约为量程的80%,对于直径为10㎜的低碳钢和铸铁试件,取0~200N·m。
(2)选定转速范围,并把调速变档开关扳到所需的速度档。
(3)调整示力度盘主动针,对准零点。
(4)若需自动绘图,可打开自动绘图开关。
3.安装试件:
根据试件的头部形状,选择合适的夹块和衬套,把试件装在试验机两夹头之间,并固紧试件。
4.进行实验:
用慢速逐渐加载,加载时按下正转按扭,以顺时针方向缓慢转动调速电位器进行无级调速,使之按要求的速度对试件加载,开始加载时就应使自动绘图器同时工作。
对于低碳钢试件,注意观察试验机示力度盘的指针,若指针停止转动或有轻微回摆,说明材料发生屈服,记录此时的扭矩Ts经过屈服阶段以后(铸铁试件无此阶段),即可快速加载,直至剪断为止,停车。由从动针读出最大扭Tb并记录。
5.取下试件,清理设备,结束实验。
6.整理数据,完成实验报告。
§2-5梁的纯弯曲实验
一、实验目的
1.测定直梁纯弯曲时横截面正应力分布规律,并与理论计算结果进行比较,以验证弯曲正应力公式。
2.了解用静态应变测试仪测量应变的方法。
二、实验设备
1.弯曲梁试验装置(或简易加载设备)
2.数字测力仪
3.静态应变测试仪
4.游标卡尺和卷尺各一把
三、试件及实验装置
C D 1 3 7 8 6 A B D C 5 4 2 (c) Q图 M图 B A (d) (a)
![]()
![]()
![]()
![]()
![]()
![]()
![]()
![]()
![]()
![]()
![]()
![]()
![]()
![]()
![]()
![]()
![]()
![]()
![]()
![]()
![]()
![]()
![]()
![]()
![]()
![]()


![]()
图2-12
采用低碳钢矩形截面直梁,宽为b,高为h,弹性模量E为210Gpa,为了实现纯弯曲,采用如图2-12(a)所示的装置,它由弯曲梁1、铸造架2、支座3、加载杆4、加载螺旋系统5、载荷传感器6、数字测力仪7、加载梁8组成,图中可看出,加载螺旋系统传来的压力P,通过加载梁和加载杆对称地作用在弯曲梁上。图2-12(b)即为AB梁的受力简图,由此可画出弯曲梁的M、Q图,如图2-12(c)、(d)所示。从内力图可见,CD梁段剪力为零,即为纯弯曲梁段,其弯矩为
。
另外,梁的纯弯曲实验还可采用铝合金框形梁,其弹性模量E为70.29Gpa,对应的简易加载设备装置如图2-12(e)所示。
四、实验原理
梁发生纯弯曲变形时,横截面上正应力
在理论上沿梁的截面高度y成斜直线规律变化,其计算公式为:
![]()
式中,M为梁横截面上的弯矩,Iz为梁横截面对中性轴(z轴)的惯性矩。
加载之前,在梁发生纯弯曲变形的两个侧面,沿梁的横截面高度,每隔
刻划平行线,其中1-1、5-5分别位于梁的上下边缘,3-3位于中性层处,2-2、4-4分别位于中性层以上或以下而与中性层距离相等,力学模型如图2-13所示。

![]()

图2-13
这些线段表示梁的纵向纤维,若沿这些线段贴上电阻应变片,梁发生纯弯曲时,这些线段的长度将会发生改变,贴在其上的电阻应变片的长度随之发生改变而导致电阻值的变化,可以通过静态应变测试仪测出各处的应变
,根据虎克定律,即可求出实验应力:
![]()
实验时仍采用“增量法”,每增加等量的载荷ΔP,测定各测点相应的应变增量一次,取应变增量的平均值
,依次求出各点应力增量
:
![]()
把
与理论计算公式算出的应力增量
![]()
加以比较,从而验证理论计算公式的正确性,式中的
。
五、实验步骤
1.试件准备
(1)在上述各线段上粘贴电阻应变片,并把电阻应变片和温度补偿片的引线按照附录中的要求方式接入静态应变测试仪。此步骤由专人预先完成。
(2)测量或了解试件的尺寸b、h、l、a以及各测点的坐标y1、y2、y3、y4、y5。了解试件材料的弹性模量E值。
2.拟定加载方案
采用增量法,根据试件的材料、尺寸,选取适宜的等增量
,对于低碳钢弯曲梁,最大载荷不大于500Kg。对于铝合金框形梁,其最大载荷不大于20Kg。
3.确定试件没有受力的情况下,对数字测力仪调零,用静态应变测试仪对需测定的各测点进行平衡。
4.予加小量载荷,然后卸载,检查各设备是否处于正常状态。
5.缓慢均匀加载,对应于每一级载荷,从电阻应变仪中读出各测点的应变值,直至加到最终载荷。
6.整理数据,完成实验报告。
§2-5平面应力状态主应力的测定实验
一、实验目的:
1.验证平面应力状态下一点的主应力大小及方向的理论计算公式。
2.掌握应变测试方法。
二、实验设备:
1.平面应力试验装置
2.数字测力仪
3.静态应变测试仪
4.游标卡尺及卷尺各一把
三、试件及实验装置:
![]()
6 3 3 2 4 4 1 P l Q图 M图 (d) (b) (c) (a)
![]()
![]()
![]()
![]()
![]()
![]()
![]()
![]()
![]()
![]()
![]()
![]()
![]()
![]()
![]()
![]()
![]()
![]()
![]()
![]()
![]()
![]()
![]()
![]()
![]()
![]()
![]()
![]()
![]()
![]()
![]()
![]()
![]()
![]()
![]()
![]()
![]()
![]()
![]()
![]()
![]()
![]()
![]()
![]()
![]()
![]()
![]()
![]()
![]()
![]()
图2-14
采用低碳钢矩形梁,宽为b,高为h,弹性模量为210Gpa,并采用如图2-14(a)所示的平面应力试验装置,它由加力手环1、螺旋千斤2、加载梁3、拉杆4、试验梁5、传感器6组成。由螺旋千斤传来的力P,通过加载梁和拉杆作用在试验梁的中间点。图2-14(b)即为梁的受力简图,由此得到的M、Q图如图2-14(c)、(d)所示。试件在与左支座距离为x的横截面上,分布有A、B、C三点测点。其中A点位于中性层,B点位于中性层以下,与中性层的距离为y。C点位于下边缘。由内力图可见,此截面的剪力
,弯矩
。
四、实验原理
P
力学模型如图2-15所示,为消除偏心载荷的影响,可在A、B两点的背后,再对应地贴上同一形式的应变花同时进行测量,然后取正、背两面实测应变的平均值来计算测点的主应力值。测点为平面应力状态时,主应力可分为下列三种情形:
B C A
![]()
![]()
![]()
![]()
![]()

图2-15
1.单向应力状态:如截面上下边缘各点,处于单向拉伸或压缩应力状态。则可沿其主应力方向粘贴单片应变片(图2-15中的C点),测得应变
后,再由单向虎克定律算出该点主应力的大小。即:
![]()
2.二向应力状态,且主应力方向已知:如中性层上各点,处于纯剪切应力状态,其主应力方向与横截面成45°夹角,则可沿其两个主应力方向各粘贴单片应变片,或用夹角为90°的两片应变片,组合在同一基片上,组成90°应变花,如图2-16(a)所示。
![]()
![]()
![]()
![]()
![]()

![]()
![]()
![]()
(a) (b)
图2-16
然后沿已知的主应力方向粘贴(图2-15中主A点),测得主应变
和
后,由广义虎克定律算出该点主应力的大小。
即:
![]()
3.二向应力状态,但主应力方向未知:如图2-15中的B点。此时,可用电阻应变仪及应变花测得该点沿三个不同方向的应变值,为方便起见,可使三个应变片各成一定的角度,如0°、45°、90°,组合在同一基片上,组成45°应变花,如图2-16(b)所示。然后测得三个特定方向的应变值:
、
、
,则:
![]()
再由广义虎克定律计算也主应力大小。即:

最后将实测数据计算所得到的主应力数值与理论值进行比较。
五、实验步骤:
1.试件准备
(1)在上述各点上粘贴电阻应变片,并把电阻应变片和温度补偿片的引线按照附录中的要求方式接入静态应变测试仪。此步骤由专人预先完成。
(2)测量或了解试件的尺寸b、h、l以及各测点的坐标yA、yB、yC。了解试件材料的弹性模量E值及泊松比μ值。
2.拟定加载方案
采用增量法,根据试件的材料、尺寸,选取适宜的等增量
,最大载荷不大于500Kg。
3.确定试件没有受力的情况下,对数字测力仪调零,用静态应变测试仪对需测定的各测点进行平衡。
4.予加小量载荷,然后卸载,检查各设备是否处于正常状态。
5.缓慢均匀加载,对应于每一级载荷,从电阻应变仪中读出各测点的应变值,直至加到最终载荷。
6.整理数据,完成实验报告。
§2-7弯扭组合变形的主应力和内力的测定实验
一、实验目的:
1.验证圆管在弯扭组合变形下一点处主应力大小及方向的理论计算公式
2.测定圆管在弯扭组合变形下的弯矩和扭矩
3.进一步掌握应变测试方法
二、实验设备:
1.弯扭组合试验装置
2.数字测力仪
3.静态应变测试仪
4.游标卡尺及卷尺各一把
三、试件及实验装置:
a m' m P 11 2 5 9 D d l 7 6 8 10 4 3 1![]()
![]()
![]()
![]()
![]()
![]()
![]()
![]()
![]()
![]()
![]()
![]()
![]()
![]()
![]()
![]()
![]()
![]()
![]()
![]()
![]()
![]()
![]()
![]()
![]()
![]()
![]()
![]()
![]()
![]()
![]()
![]()
![]()
![]()
![]()
![]()
![]()
![]()
![]()



![]()
(a)
(b)
(c)
图2-17
采用如图2-17(a)所示的弯扭组合试验装置,它由薄壁圆管1、扇臂2、钢索3、手轮4、加载支座5、加载螺杆6、载荷传感器7、钢索接头8、底座9、数字测力仪10和固定支架11组成。力学模型如图2-17(b)所示,测点m到端点的距离为l,扇臂的长度为a。试件采用铝合金薄壁圆管,外径为D,内径为d,如图2-17(c)所示,弹性模量E为72Gpa,泊松比
为0.33。试验时转动手轮,传感器随着加载螺杆向下移动,钢索受拉,传感器受力,传感器就有信号输出,此时数字测力仪显示的数字即为作用在扇臂端的载荷值,扇臂端作用力传递至薄壁圆管上,使之产生弯扭组合变形。
四、实验原理:
y B x b(b') a(c') c(a') m (m') R'b Rb 45° 45°
![]()
![]()
![]()
![]()
![]()
![]()
![]()
![]()
![]()
![]()
D

![]()

![]()
![]()
(a) (b) (c)
图2-18
1.确定主应力大小和方向
在弯扭组合下,圆管的m点处于平面应力状态,且属于二向应力状态,但主应力方向未知,如图2-18(a)所示,实测时由a、b、c三枚应变片组成直角应变花,并把它粘贴中圆管固定端附近的上表面点m,选定如图所示的坐标轴,则a、b、c三枚应变片的
角分别为-45°、0°、45°,然后测得三个特定方向的应变值:
、
、
,则:

![]()
再由广义虎克定律计算也主应力大小。即

最后将实测数据计算所得到的主应力数值与理论值进行比较。
2.测定弯矩
在靠近固定端的下表面点m′(m′为直径mm′的端点)上,粘贴一枚与m点相同的应变花,其三枚应变片为a′、b′、c′,相对位置已表示于图2-18(a)中。圆管虽为弯扭组合,但m和m′两点沿x方向只有因弯曲引起的拉伸和压缩应变,且两者数值相等等号相反。因此,将m点的应变片b与m′点的应变片b′,按图2-18(b)半桥接线,得
![]()
式中
为温度应变,
即为m点因弯曲引起的应变。因此求得最大弯曲应力为:
![]()
还可由下式计算最大弯曲应力,即:
![]()
令以上两式相等,便可求得弯矩为:
![]()
最后将实测结果与理论计算结果进行比较。
3.测定扭矩
当圆管受纯扭转时,m点的应变片a和c以及m′点的应变片a′和c′都沿主应力方向。又因主应力
和
数值相等符号相反,故四枚应变片的应变的绝对值相同,且
与
同号与
、
异号。如按图2-18(c)全桥接线,则
![]()
![]()
这里,
即扭转时主应变,再由广义虎克定律得出:
![]()
还因扭转时主应力
与切应力
相等,故有
![]()
由以上两式不难求得扭矩T为:
![]()
![]()
最后将实测结果与理论计算结果进行比较。
五、实验步骤:
1.试件准备
(1)在测点m和
上粘贴应变花,并把应变花和温度补偿片的引线按照附录中的要求方式接入静态应变测试仪。此步骤由专人预先完成。
(2)测量或了解试件的尺寸D、d、l、a,了解试件材料的弹性模量E值及泊松比μ值。
2.拟定加载方案
采用增量法,根据试件的材料、尺寸,选取适宜的等增量
,最大载荷不大于600N。
3.确定试件没有受力的情况下,对数字测力仪调零,用静态应变测试仪对需测定的各测点进行平衡。
4.予加小量载荷,然后卸载,检查各设备是否处于正常状态。
5.缓慢均匀加载,对应于每一级载荷,从电阻应变仪中读出各测点的应变值,直至加到最终载荷。
6.整理数据,完成实验报告。
第三章 实验设备
§3-1液压式万能材料试验机
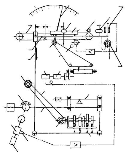
测定材料力学性能的主要设备是材料试验机,能兼作拉伸、压缩、弯曲等多种实验的材料试验机称为万能材料试验机,它有液压式、机械式、电子机械式等类型。其中实验室最常用的是液压式万能材料试验机,它也有许多不同的型号,但构造原理基本上是一样的,现以国产WE系列为例,图3-1为这一系列中最常见的WE-300型液压式万能材料试验机,其结构简图如图3-2所示,现分别介绍加载系统和测力系统。
一、加载系统
在底座1上由两根固定立柱2和固定横梁3组成承载框架。工作油缸4固定于框架上。在工作油缸的活塞5上,支承着由上横梁6、活动立柱7和活动平台8组成的活动框架。当油泵16开动时,油液通过送油阀17,经送油管18进入工作油缸,把活塞5连同活动平台8一同顶起。这样,如把试件安装于上夹头9和下夹头12之间,由于下夹头固定,上夹头随工作平台上升,试件将受到拉伸。若把试件置放于两个承压垫板11之间,或将受弯试件置放于两个弯曲支座10上,则因固定横梁不动而活动平台上升,试件将分别受到压缩或弯曲。
38放油阀 30示力度盘 29示力指针 20回油阀 37油箱 35油泵电 机开关 17送油阀 32滚筒 18.19油管 1底座 2固定立柱 13螺杆 36下夹头升降按钮 9上夹头 12下夹头 8活动平台 3固定横梁 7活动立柱 4工作油缸 6上横梁
![]()
![]()
![]()

![]()
![]()
![]()
![]()
![]()
![]()
![]()

图3-1
此外,实验开始前如欲调整上、下夹头之间的距离,则可开动电机14,驱动螺杆13,便可使下夹头12上升或下降。值得注意的是,电机14不能用来给试件施加拉力。
二、测力系统
加载时,开动油泵电机,打开送油阀17,油泵把油液送入工作油缸4顶起工作活塞5给试件加载;同时,油液经回油管19及测力油管21(这时回油阀20是关闭的,油液不能流回油箱37),进入测力油缸22,压迫测力活塞23,使它带动拉杆24向下移动,从而迫使摆杆26和摆锤25联同推杆27绕支点偏转。推杆偏转时,推动齿杆28作水平移动,于是驱动示力盘的指针齿轮,使示力指针29绕示力度盘30的中心旋转。示力指针旋转的角度与测力油缸活塞上的总压力(即拉杆24所受拉力)成正比。因为测力油缸和工作油缸中油压压强相同,两个油缸活塞上的总压力成正比(活塞面积之比)。这样,示力指针的转角便与工作油缸活塞上的总压力,亦即试件所受载荷成正比。经过标定便可使指针在示力度盘上直接指示载荷的大小。
23测力活塞 22测力油缸 25摆锤 24拉杆 26摆杆 支点 31平衡铊 27推杆 34绘图笔 29示力指针 28齿杆 30示力度盘 32滚筒 21测力油管 37油箱 20回油阀 35油泵电机 16油泵 15蜗轮蜗杆 33拉绳 17送油阀 18送油管 19回油管 滑轮(2) 滑轮(1) 13螺杆 14下夹头升降电机 1底座 12下夹头 36下夹头升降按钮 9上夹头 8活动平台 10弯曲支座 11承压垫板 3固定横梁 7活动立柱 5工作活塞 4工作油缸 6上横梁
![]()
![]()
![]()
![]()

![]()
![]()
![]()

图3-2
试验机配有重量不同的摆锤,可供选择。对重量不同的摆锤,使示力指针转同样的转角,所需油压并不相同,即载荷并不相同。所以,示力度盘上由刻度表示的测力范围应与摆锤的重量相匹配。WE-300型液压式万能材料试验机配有A、B、C三种摆锤,摆锤A对应的测力范围为0~60KN,A+B对应的测力范围为0~150KN,A+B+C对应的测力范围为0~300KN。
开动油泵电机,送油阀开启的大小可以调节油液进入工作油缸的快慢,因而可用以控制增加载荷的速度。开启回油阀20,可使工作油缸中的油液经回油管19泄回油箱37,从而卸减试件所受载荷。
实验开始前,为消除活动框架等的自重影响,应开动油泵送油,将活动平台略微升高。然后调节测力部分的平衡铊31,使摆杆26保持垂直位置,并使示力指针指在零点。
试验机上还有自动绘图装置,它的工作原理是,活动平台上升时,由绕过滑轮(1)和(2)的拉绳33带动滚筒32绕轴线转动,在滚筒圆柱面上构成沿周线表示位移的坐标;同时,齿杆28的移动构成沿滚筒轴线表示载荷的坐标。这样,实验时绘图笔34在滚筒上就可自动绘出载荷-位移曲线。当然,这只是一条定性曲线,不是很准确的。
三、操作规程及注意事项
1.根据试件的尺寸和材料,估计最大载荷,选定相应的示力度盘和摆锤重量。需要自动绘图时,事先应将滚筒上的纸和笔装好。
2.先关闭送油阀和回油阀,再开动油泵电机。待油泵工作正常后,开启送油阀将活动平台升高约1㎝,以消除其自重。然后关闭送油阀,调整示力度盘指针使它指在零点。
3.安装拉伸试件时,可开动下夹头升降电机以调整下夹头位置,但不能用下夹头升降电机给试件加载。
4.缓慢开启送油阀,给试件平稳加载。应避免油阀开启过大进油太快。实验进行中,注意不要触动摆杆或摆锤。
5.实验完毕,关闭送油阀,停止油泵工作。破坏性实验先取下试件,再缓缓打开回油阀将油液放回油箱。非破坏性实验,自然应先打开回油阀卸载,才能取下试件。
§3-2扭转试验机
扭转试验机用于测定金属或非金属试件受扭时的力学性能。现以NJ-100B型为例,说明扭转试验机的结构和工作原理。NJ-100B型扭转试验机能在正、反两个方向施加扭矩;采用电子平衡测力系统,精度较高;用可控硅无级调速控制加载,可使加载平稳,试验速度宽广。最大扭矩为1000N·m,分四级度盘,它们是0~100N·m、0~200N·m、0~500N·m、0~1000N·m。
一、加载系统
安装于溜板3上的加载机构(图3-3)用滚珠轴承支承于导轨2上,可自由滑动。直流电机4通过减速箱5的两级减速带动夹头6转动,从而对安装于夹头6和8间的试件7施加扭矩。操作面板9放大为图3-4,面板上按钮12控制试验机的正、反加载和停车。加载速度分0~36°/min和0~360°/min两档,由转速选择开关13选择,多圈电位器14调节。
34示力度盘 35量程选择旋钮 9操作面板 7试件 5减速箱 4直流电机 2导轨 1机座 3溜板 6夹头 8夹头 41记录器 39微调轮

图3-3
反 停 正 19复位 关开 10电源 0~360 0~36 记录器 11指示灯 14电位器 12按钮 18指示灯 13转速选择开关 15加载速度表 17记录开关 16电流表

图3-4
二、测力系统
测力机构为杠杆电子自动平衡系统,示意图如图3-5所示。
A G T 4直流电机 44记录筒 50齿轮 36链条 49电位器 平衡铊 20杠杆 38凸轮轴 37锥齿轮 C B 46放大器 45自整角发送机 5减速箱 6主动 夹头 35量程选择旋钮 47伺服 电机 48自整角变压器 39微调轮 26放大器 42记录笔 43钢丝 28反 馈电位器 32绳轮 P 24平衡杠杆 23拉杆 29钢丝 r s 限位开关 30游铊 31调整板 25差动变压器 33指针 34示力度盘 21反向杠杆 22变支点杠杆 8夹头 27伺服电机 40弹簧![]()

图3-5
由夹头8传递来的扭矩T转动杠杆20(或反向杠杆21),带动变支点杠杆22,使拉杆23以载荷P作用于杆平衡杠24上,杆平衡杠绕支点转动,右端上翘热推动差动变压器25,变压器铁芯因位移发出的信号经放大器26使伺服电机27转动,拖动钢丝29拉着游铊30移动。直到游铊的重力G对支点的力矩Gs=Pr时,平衡杠杆恢复为水平平衡位置,差动变压器铁芯回到初始位置,无信号输出,伺服电机停止转动。可见扭矩T的大小与通过杠杆传递的拉力载荷P成正比,而P又与游铊的位移s成正比。游铊的移动经钢丝29带动绳轮32和指针33旋转,旋转的角度自然正比于游铊的位移s。经过标定,指针便可在示力度盘34上指示出扭矩T的数值。
当需要变换示力度盘时,转动量程选择旋钮35,经链条36和锥齿轮37带动凸轮轴38,使凸轮轴上的不同凸轮与杠杆22的不同支点接触。这样便可改变杠杆22上力臂的比值,以改变测力范围。
三、记录装置
绳轮32旋转时,通过钢丝43带动记录笔42沿记录筒44的轴线方向移动,按比例地记录扭矩T的数值。随着主动夹头6的转动,装于减速箱5上的自整角发送机45不断发出信号,发放大器46驱动伺服电机47带动自整角变压器48转动,通过齿轮50使记录筒旋转。这样,记录笔沿记录筒圆周方向的移动,按比例地记录了试件的扭转角φ。于是得到表示T和φ的关系的曲线。
四、操作规程及注意事项
1.估计实验所需最大扭矩。转动量程选择旋钮选择合适的示力度盘。一般使示力度盘的量程比实验所需最大扭矩约大20%。
2.根据试件的头部形状,在夹头上安装合适的钳口或衬套。先把试件夹紧于夹头8中,再移动夹头6把试件夹紧。
3.把转速选择开关13(图3-4)置于所需的速度档上。将调速电位器14左旋到底,接通电源,检查指针33(图3-5)是否指零。如偏离较多,打开机器背面箱门,移动调整板31使指针大致指零,再用微调轮39(图3-3)使指针对零。如指针在调整中不灵敏或有振荡现象,应调整伺服电机27旁边的反馈电位器28使恢复正常。
4.需自动绘制T-φ图时,装好记录笔和记录纸,并借助齿轮50选择合适的记录速度,打开记录开关17。检查记录笔在记录纸上的位置是否适宜,如需调整可拉动钢丝43。如记录笔有振荡现象,可调节伺服电机47旁的电位器49使其停止振荡。
5.加载时按下开关12的正(或反)按钮,以顺时针向缓慢转动调速电位器14,使直流电机按要求的速度对试件加载。最大加载电流不应超过10安培。加载开始后不能再转动量程选择旋钮。
6.实验完毕立即按下停止开关。破坏性实验可立即切断电源取下试件;非破坏性实验经反向卸载后取下试件。
7.开机前应检查调整电位器是否指在零位(左旋到底),以防启动加载开关时产生冲击力矩。
§3-3球铰式引伸仪
材料力学实验中,除了测定试件或构件的承载能力外,还经常测定它们的变形,试件的变形往往很小,必须采用高精度、高放大倍数的仪器才能测定,这类仪器即为变形仪,QY-2型球铰式引伸仪是变形仪的一种。
一、千分表及百分表
千分表利用齿轮放大原理制成,如图3-6所示,它主要用于测量位移,工作时将细轴的触头紧靠在被测量的物体上,物体的变形将引起触头的上下移动,细轴上的平齿便推动小齿轮以及和它同轴的大齿轮共同转动,大齿轮带动
图3-6 量程指针 齿条 小齿轮 触头 细轴 刻度盘 大指针 大齿轮 指针齿轮 细轴螺帽

指针齿轮,于是大指针相随转动。如大指针在刻度盘上每转动一格,表示触头的位移为
㎜,则放大倍数为1000,称为千分表。若大指针每转动一格表示触头的位移为
㎜,则称为百分表。大指针转动的圈数可由量程指针予以记忆。百分表的量程一般为5~10㎜,而千分表的量程一般为3㎜左右。
安装千分表时,应使细轴的方向(即触头位移方向)与被测点的位移方向一致,对细轴应选取适当的预压缩量。测量前可转动刻度盘使指针对准零点。
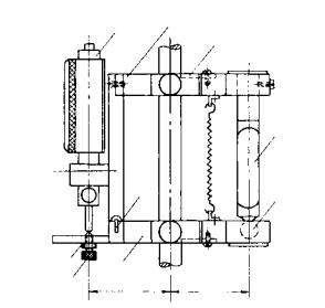
二、球铰式引伸仪构造原理
图3-7(a)和(b)是QY-2型球铰式引伸仪的结构和安装示意图。上、下标距叉由球铰杆和表座板(也是标距板)连接起来,并用弹簧拉紧,组成变形传递架。装于表座板上的千分表的触头与下标距叉的接触螺钉接触。旋紧固定顶
(b) (a) 试件 活动顶尖 定位块 固定顶尖 a 接触螺钉 锁紧螺母 小轴 球铰 球铰杆 定位块 上标距叉 千分表 千分表 a 下标距叉


图3-7
尖和活动顶尖便可把引伸仪安装于试件上。试件变形时,上标距叉基本不动,但试件变形带动顶尖螺钉位移,从而使下标距叉绕球铰中心轻微转动,这样,下标距叉形成一个以球铰为支点的杠杆。按照图3-7(a)所示尺寸,千分表触头的位移是活动顶尖位移(即试件变形)的两倍。换句话说,在千分表的量程内,其指针转动ΔCi格,表示触头的位移为
㎜,而试件的变形
㎜,式中K=2000即为QY-2型球铰式引伸仪的放大倍数。
千分表的刻度盘上有两种刻度,黑色数字是顺时针方向,红色数字则是反时针方向。因在试件变形时,下标距叉的接触螺钉向下移动,千分表的大指针将反时针方向转动,所以,读数时应读红色读数。
三、仪器的安装及注意事项
1.根据试件的尺寸调整定位块和顶尖,使小轴的尾部向上,限制上、下标距叉相对错动,把引伸仪套在试件上,使定位块与试件紧靠,施紧活动顶尖,使顶尖嵌入试件约为0.05~0.1㎜。
2.调整接触螺钉,使千分表的量程指针指在量程的一半左右,用锁紧螺母锁紧接触螺钉,把千分表大指针调整到零位,把小轴尾部旋转向下。
3.在正式实验前,可对试件试加小量载荷,如果千分表指针均匀转动,则可开始实验。
4.引伸仪属精密仪器,使用时要小心谨慎,注意轻放,实验完成后应妥善地放入仪器盒里。
§3-4静态应变测试仪
电阻应变仪是测量微小变形的仪器,DH-3818型静态应变测试仪是电阻应变仪的其中一种。对于梁的纯弯曲实验及主应力测定实验,采用静态应变测试仪来测量变形是最为合适的。
一、电阻应变片
电阻应变片是由金属电阻丝往复绕成敏感栅用粘结剂固定在绝缘基底上,两端加焊引出线,并加盖复盖层而成的,其构造如图3-8所示。其电阻值多
图3-8 l 引出线 粘结剂 基底 敏感栅 复盖层
![]()
![]()
![]()
![]()
![]()
![]()

采用R=120Ω,使用时将电阻应变片用专用胶水(例如502胶)牢固地粘贴在试件的欲测部位,若试件在该处沿电阻丝方向发生线变形时,电阻丝也随之变形,从而引起电阻丝电阻值发生变化。实验结果表明,在一定应变范围内,电阻丝的电阻改变率
与应变![]()
成正比,即:
(3.1)
式中K称为应变片的灵敏系数,它是电阻应变片的重要技术参数。
二、应变电桥
电阻应变片因随构件变形而发生的电阻变化ΔR,通常用四臂电桥(惠斯顿电桥)来测量。如图3-9所示,图中四个桥臂AB、BC、CD和DA的电

图3-9
阻分别为R1、R2、R3和R4。在对角节点A、C上接电压为E1的直流电源后,另一对角节点B、D为电桥输出端,输出端电压为UBD,且
![]()
当电桥平衡时,UBD=0。由上式得电桥的平衡条件为:
![]()
1.全桥测量电路
若电桥的四个臂R1~R4均为粘贴在构件上的电阻应变片,所构成的电桥称为全桥测量电路。构件受力后,电阻应变片的电阻变化为ΔRi(i=1、2、3、4),从而引起电桥输出端电压的变化。如果电桥的四个臂皆为相同的四枚电阻应变片,其初始电阻都相等,即R1=R2=R3=R4=R,则输出端电压的变化为:
![]()
根据公式(3.1),上式可写成:
(3.2)
2.半桥测量电路
若电桥的四个臂中只有R1和R2为粘贴在构件上的电阻应变片,其余两臂则为电阻应变仪内部的标准电阻,这种情况称为半桥测量电路。设电阻应变片的初始电阻R1=R2=R。构件受力后,电阻应变片的电阻变化为ΔR1和ΔR2,此时,由于ΔR3=ΔR4=0(即
),则输出端电压的变化为:
![]()
3.温度补偿片
温度的变化对测量应变有着一定的影响,消除温度变化的影响可采用以下方法。实测时,把粘贴在受载荷构件上的应变片作为R1,若温度发生变化,则应变为
,其中
是因载荷引起的应变,
是因温度变化引起的应变。以相同的应变片粘贴在材料和温度都与构件相同的补偿块上,作为R2,其应变
。以R1和R2组成测量电桥的半桥,电桥的另外两臂R3和R4为测试仪内部的标准电阻,
,则:
![]()
由上式可见,利用这种方法可以有效地消除了温度变化的影响,其中作为R2的电阻应变片就是用来平衡温度变化的,称为温度补偿片。
三、工作原理
图3-10
图3-10为静态应变测试仪的原理方框图,电压变换器供给应变电桥稳定的直流电压,构件受力后,应变电桥产生的微弱电压信号ΔUBD,通过放大器放大和有源滤波器滤波,变为放大的模拟电压信号,经A/D转换器,最后将电压ΔUBD转换成数字量。因ΔUBD应与
成正比,经过标定(仪器出厂前已完成),再将电压量转换成应变。这样,应变仪显示表头显示的数字即为
的值,即测试仪读数
(με)。
四、仪器的使用方法
DH-3818型静态应变测试仪可以连接计算机实现自动控制,也可以单独


(b)
图3-11
使用,单独使用时用手动控制。它可以同时进行十个测点的应变测量,测量方法分有:1/4桥测量、半桥测量和全桥测量,具体的连接方式见附录。图3-11(a)、(b)为即测试仪的前、后面板图。
图中:A.手动控制指示灯;B.自动控制指示灯;C.通道号显示数码管;D.应变量及设置修正系数的显示数码管;E~F.通道号选择键;G.平衡键;H.应变量指示灯;I. 修正系数指示灯;J.设置键;K.移位键;L.减量键;M.增量键;N.RS232通讯接口;O.接地端子;P.保险丝座;Q.仪器电源开关;R.电源输入插座。
静态应变测试仪手动控制的操作步骤:
1.将各测点的电阻应变片和温度补偿片的引线按照附录的要求连接方式接入测试仪,打开电源开关。
2.进行灵敏系数的修正,如果应变片的灵敏系数为K,则先按下设置键J进入修正设置状态,再用移位键K、增量键M、减量键L配合操作,输入
的数值,再按下设置键J回到测试状态。
3.测试前应先对各测点进行平衡,用通道号选择键E或F选择测点,对应地在通道号显示数码管C显示出来,再按下平衡键G,若应变量显示数码管D显示“±0000”,则表示该测点已经平衡。同时进行多个测点的应变测量时,每一测点都应按上述方法进行平衡。
4.缓慢加载,用通道号选择键E或F选择测点,对应地从应变量显示数码管D读出该测点的应变,再减去加载前的初读数即为该测点的实际应变值,其单位是1με=10-6。
§3-5数字测力仪
NAI-Ⅲ型数字测力仪配上各种量程的应变片式载荷传感器,可以测量拉、压力等载荷量。直接用数字显示,适用于梁的纯弯曲实验及主应力测定实验。
一、工作原理
NAI-Ⅲ型数字测力仪由电源、放大器和数字显示部分组成。电源采用有多组次级线圈的变压器,经过硅桥整流,电容滤波后,输给三段集成稳压块,由稳压块分别输出+6V、±5V、±12V的直流电压供给传感器应变片电桥、放大器和数字显示表头,如图3-12所示。为适应不同量程的传感器,该仪器设置了增益调节电位器和传感器零点调节电位器。
~220V![]()
![]()
![]()
![]()
![]()
![]()
![]()
![]()
![]()

![]()

![]()
![]()
![]()
图3-12
三、使用方法
NAI-Ⅲ型数字测力仪的前、后面板如图3-13(a)、(b)所示。


(a)
(b)
图3-13
数字测力仪的使用步骤如下:
1.用五芯航空插座,将传感器连接到测力仪。
2.插上电源,打开仪器电源开关,并预热十分钟。
3.调节传感器零点调节电位器,使数字显示为“±0000”。
4.对传感器加载,此时仪器的数字显示即为传感器所受的载荷或力值。
5.使用完毕,卸去传感器载荷,关闭仪器电源。
附 录
表一
|
序号 |
用 途 |
与静态应变测试仪的连接方式 |
备注 |
||||||||||||||||
|
方 式 一 |
1/4桥(多通道共用补偿片)适用于测量简单拉伸压缩或弯曲应变 |
1 Rd Rg10 Rg1 Eg Vi+ O Vi- 10 补偿 |
Rd为补偿片,Rg1~Rg10为测点。(下同) |
||||||||||||||||
|
方 式 二 |
半桥(1片工作片,1片补偿片)适用于测量简单拉 伸压缩或弯曲应变,而且在较恶劣的环境下 |
Rg Rd Rd Rg 10 1 补偿 Eg Vi+ O Vi- |
|
||||||||||||||||
|
方 式 三 |
半桥(2片工作片)适用于测量简单拉 伸压缩或弯曲应变,而且环境温度变化较大 |
1 补偿 Rg2 Rg1 Rg1 Rg2 10 Eg Vi+ O Vi- |
|
附 录
表二
|
序号 |
用 途 |
与静态应变测试仪的连接方式 |
备注 |
||||||||||||||||||||||||
|
方 式 四 |
半桥(2片工作片)适用于只测弯曲应变,消除了拉伸和压缩应变 |
10 1 补偿 Rg2 Rg2 Rg1 Rg1 Eg Vi+ O Vi- |
|
||||||||||||||||||||||||
|
方 式 五 |
全桥(4片工作片)适用于只测拉伸和压缩的应变 |
10 1 Rg4 Rg1 Rg4 Rg3 Rg2 Rg1 Rg3 Rg2 Eg Vi+ O Vi- 补偿 |
|
||||||||||||||||||||||||
|
方 式 六 |
全桥(4片工作片)适用于只测弯曲应变 |
Rg4 Rg3 Rg1 10 1 Rg2 Rg3 Rg1 Rg2 Rg4 Eg Vi+ O Vi- 补偿 |
|